![]()
成果简介
大连东软信息学院智能与电子工程学院刘春燕、张永锋、丛国涛申请题为一种无线充电系统及基于无线充电系统的电动汽车充电方法的发明专利。
技术背景
为了实现绿色环保节能减排,近些年电动汽车发展迅速。但电动汽车通常需要在固定地点充电,往往需要长时间停靠,存在不方便的问题,比如对于长途驾驶,需要在服务区长时间排队充电,造成了时间的浪费。同时导致电动汽车使用场景受到局限,不利于更进一步推广。
因此,目前技术考虑如何对电动汽车进行移动无线充电,现有技术中对电动汽车进行移动充电需要以电动汽车地盘和地面相结合实现,存在效率不高,造价昂贵,需要更新公路基础设施等问题。同时通过充电臂在充电轨道内移动产生感应电流,以实现充电,在此过程中,由于移动可能会造成充电臂在充电轨道内的位置不稳定,进而造成充电臂与充电轨道发生碰撞,影响充电的顺利进行,因此如何使充电臂在充电轨道内位置稳定,保证充电过程的顺利进行是亟待解决的问题。
成果介绍
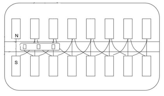
本发明提出了一种无线充电系统及电动汽车充电方法,旨在解决充电臂在充轨道内位置不稳定的问题。系统由充电轨道模块、充电臂模块和电源模块组成。充电轨道模块设有凹槽,充电臂模块部分伸入凹槽内,与充电轨道模块耦合形成完整充电回路。充电臂模块两端设有充电臂平衡模块,充电轨道模块设有平衡控制模块,通过调整磁力控制充电臂模块位置。平衡控制模块包括充电臂位置调整控制模块、励磁线圈和充电臂位置检测传感器,充电臂平衡模块包括平衡磁体。充电臂位置检测传感器获取充电臂模块位置信息,传输给充电臂位置调整控制模块,控制模块根据位置信息控制励磁线圈产生磁场,调整对平衡磁体的磁力,实现充电臂模块位置精准调控。充电轨道模块还包括轨道安装壳、充电控制电路、原边线圈单元和轨道磁芯单元;充电臂模块还包括充电臂安装壳、安装座、次级线圈单元和充电转换单元。充电时,充电控制电路产生感应电流,依次经原边线圈单元、轨道磁芯单元传输至次级线圈单元,再传输至充电转换单元,转换后传输至电源模块,为电动汽车充电。
该发明通过平衡控制模块和充电臂平衡模块的协同作用,确保充电臂模块在充电轨道模块内位置稳定,有效解决了充电臂位置不稳定的问题,提高了无线充电的效率和可靠性,为电动汽车的广泛应用提供了有力技术支持。

图1 充电轨道和电动汽车及其连接充电臂整体结构图

图2 充电臂内充电臂位置控制磁体和充电臂充电线圈结构图示意图

图3 充电臂悬浮控制,充电轨道示意图

图4 翼型充电臂在充电轨道运行示意图
- 上一篇:没有了
- 下一篇:科研成果 | 一支聚焦情感计算及心理健康的跨学科科研团队